
全国咨询热线
打造行业最具影响力品牌
在一般罐体设备顶部出口位置都需要加装丝网除沫器,但是随着使用时间加长,介质腐蚀会导致丝网脱落,能不能更换为孔板波纹填料代替丝网除沫器呢?
一般来说填料是为了传质传热等使用。增大气液交换的面积,而除沫器的作用是去除气体中夹杂的水分,原理不同,作用也不同,所以不可混用,不可代替。
我客户公司新建的污水处理装置,其中包括低盐生化系统、浓盐生化及膜系统、蒸发结晶系统3个单元,低盐系统处理能力为16800m3/天,浓盐系统处理能力为4800m3/...
我客户公司新建的污水处理装置,其中包括低盐生化系统、浓盐生化及膜系统、蒸发结晶系统3个单元,低盐系统处理能力为16800m3/天,浓盐系统处理能力为4800m3/...
较高的活动速度会增加硫酸对碳素钢的腐蚀,如碳素钢制的泵运用寿命很短,可是每秒几尺的活动速度,好像还不会改变它的腐蚀特性。固体悬浮物会引起碳素钢的磨损腐蚀。 充空气对碳素钢在浓硫酸中的腐蚀影响很小,由于浓硫酸自身是氧化性的。可是发现空气泡对通浓硫酸的管线却有损坏作用。例如一根通93%硫酸的碳素钢管...
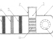
查看详情涉及液体净化领域,包括喷淋段上壳体,所述喷淋段上壳体内部设有除雾层和除沫层,所述除沫层设于除雾层的左侧,所述除沫层内部设有丝网除沫器,所述除雾层内部包括板式除雾器和除雾球,所述板式除雾器设于除雾球的左侧,除雾球与板式除雾器之间设有隔离板一,所述丝网除沫器设于板式除雾器的左侧,板式除雾器和丝网除沫...
查看详情上游设备在分子筛再生过程中,产生的液体是水和解析的重质油组分,气液分离罐将水和重质油组分从过程中分离出来,避免重质油进入下游碱洗塔进而污染污水处理系统,如果重质油组分持续进入污水处理系统就会造成污水处理效率降低甚至失效。目前通用的处理手段是普通的金属丝网除沫器,金属丝网除沫器作为常规的气液分离手...
查看详情天然气中水分的存在往往会造成严重的后果:含有CO2和H2S的天然气在有水存在的情况下形成酸而腐蚀管路和设备;在一定条件下形成天然气水合物而堵塞阀门、管道和设备;降低管道输送能力,造成不必要的动力消耗。水分在天然气的存在是非常不利的事,因此,需要脱水的要求更为严格。在分离塔和吸收塔内顶部安装的除沫器种类...
查看详情硝酸尾气中氮氧化物的氮氧化物(NOx)主要由一氧化氮(NO)和二氧化氮(NO2)组成,NOx的处理主要是以氨做还原剂在催化剂的作用下将尾气中的NOx选择性还原为N2和H2O,达到脱除NOx的目的。由于硝酸尾气排放量大,压力大,不能达到使尾气与氨在还原剂的作用下充分接触,而降低转化效率,因此目前需要一种能满足要求能够使尾气与...
查看详情氨是重要的无机化工产品之一,合成氨工业在国民经济中占有重要地位,除液态氨可以直接作为肥料外,农业上使用的氮肥以及各种含氮的复合肥均是以氨为原料,合成氨是大宗化工产品之一,在工业生产中扮演举足轻重的角色,改善和维护合成氨的生产设备也将具有深远的意义。一般化工企业大多有合成氨设备,合成氨原料气在经...
查看详情由于气体与液体的密度不同,液体与气体混合一起流动时,如果遇到阻挡,气体会折流而走,而液体由于惯性,继续有一个向前的速度,向前的液体附着在阻挡填料表面上由于重力的作用向下汇集到一起,通过排放管排出。由于填料相对普通折流分离来说具有大得多的阻挡收集壁面积,而且多次反复折流,液体很容易着壁,所以其分离...
查看详情如图1-图2所示,本发明用于湿法脱硫塔的消烟除尘方法,是在湿法脱硫塔4的上部安装一道承重密封法兰5,承重密封法兰5上粘接固定上消烟除尘装置,作为最终一道烟气排放净化工序;如图3所示,所述的消烟除尘装置,是由若干个装置单体1相互排列粘接而成;所述的装置单体1的构造是,包括阻燃型玻璃钢材料制成的断面形状为...
查看详情介绍了填料塔三种不同液体分布器的设计,经过几年的生产实践检验,均达到了设计期望值,对企业的高负荷生产起到了关键作用。1概述 我公司在120kt/a合成氨、200kt/a尿素的扩产技术改造过程中,新增加了半水煤气常压脱硫塔,对变换气脱硫塔进行了技术改造,更新改造了净化342及收塔等填料塔,均由我公司承担设计任务。...
查看详情1.一种用于湿法脱硫塔的消烟除尘装置,其特征在于,它是由多个装置单体相互粘接而成的装置整体;所述的装置单体的构造是,在阻燃型玻璃钢材料制成的外壳内的中下部设有旋流模块,在外壳的顶部设有冷却管网;所述外壳的断面形状为正六边形;所述的旋流模块是在中心喷管上固定有两层由增强PP材料整体注塑而成的旋流叶片,...
查看详情丝网除沫器因为其优良的特性已被国内外硫酸厂普遍采用,但随着实际应用经验的积累和技术的发展,现阶段丝网除沫器设计问题的一些不足也日益显露,例如它的除沫效率低下、除沫范围有限,操作气量变化条件下的适应能力较弱。使用寿命周期短等。针对这些问题许多国外大公司研制出了改进型的丝网除沫器,改进的办法主要集中...
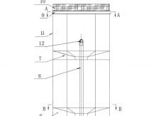
查看详情MVR结晶器,具体的说是一种应用于MVR结晶器的丝网式汽液分离结构,属于MVR结晶器技术领域。其包括外筒体,外筒体下部中心设有泛液斗,泛液斗上端出口连接下挡板;外筒体内侧壁设有多个上挡板,多个上挡板位于下挡板上方;外筒体内侧壁设有丝网除沫器,丝网除沫器位于多个上挡板上方;外筒体外侧壁设有出汽口,出汽口位于...
查看详情
留下你的信息,我们将第一时间和您取的联系!